重温美国收音机黄金时代的十大巅峰之作(4)—— Sparton Nocturne 第三部分
Sparton Bluebird 相关图片
1. 文献里的 Sparton Bluebird

Sparton Bluebird (Model 566) 广告,定位为送给女性亲友的圣诞礼物。来自《The Tipton Daily Tribune》1935年12月13日第6版。

Sparton Bluebird广告,来自《The Journal Times》1935年12月15日第5版。

Sparton Bluebird广告,来自《The Flint Journal》1935年12月15日第18版。

Sparton Bluebird广告,来自《The Star Press》1935年12月17日第2版。

Sparton Bluebird广告,来自《The Call Leader》1935年12月17日第3版。

Sparton Bluebird广告,来自《Jackson Citizen Patriot》1935年12月18日第15版。

Sparton Bluebird广告,来自《The Billings Gazette》1935年12月19日第2版。

Sparton Bluebird广告,来自《The Midland Review》1935年12月20日第5版。

Sparton Bluebird广告,来自《Jackson Citizen Patriot》1935年12月20日第8版。

Sparton Bluebird广告,来自《Springfield News Sun》1935年12月20日第14版。

1936年Sparton收音机产品宣传页中的Bluebird。

来自《Jackson Citizen Patriot》1936年3月4日第2版。文字翻译:
Bluebird 带来幸福
“蓝鸟不仅是春天的预兆,更是幸福的使者” 这一古老传说,于周二晚间在高中礼堂成为现实:戏剧演员 Cornelia Otis Skinner 在一场 Townhall 活动的观众面前,获赠一台由其制造商、杰克逊市 Sparks-Withington 公司出品的 Sparton “Bluebird” 收音机。本次赠礼由 Townhall 主席 Lloyd A. Southard 主持。上图中的 Skinner 小姐,正展露着这台 Bluebird 为她带来的喜悦。

Sparton Bluebird广告,来自《The Montreal Star》1936年4月6日第6版。

来自《Harrisburg Telegraph》1936年4月6日第19版。文字翻译:
SPARTON 设计独特收音机
设计精巧、大胆且风格鲜明,可作为各类隆重场合的装饰礼品,Sparton 精心打造的 “Bluebird” 收音机,将长久取悦万千幸运的拥有者。它以极具感染力的精湛工艺打造,采用水晶镜面、铬与金属的独特组合,各部件完美呼应,为周围环境增色添彩。它常被置于家庭、办公室、俱乐部或酒馆的尊位,带来新颖而悦目的视觉反差,总能引发趣味十足、充满期许的赞叹。
Sparton 这款独特的 “Bluebird” 礼品收音机非同凡响,令人一见倾心。它采用了美国公认的工业设计泰斗 Walter Dorwin Teague 专为 Sparton 打造的极具辨识度的独家设计元素,以全新的时代风格诠释现代潮流。Sparton 的这款杰出 “Bluebird” 收音机,以一块 14 英寸的深午夜蓝色镜面玻璃为主体。镜面中心略下方嵌入一枚铬制圆环 —— 银色扬声器格栅的边框,框内另有一枚铬环,嵌有发光刻度盘。整体机身以微倾角度架设于两枚乌木球上,下方配有一块独立的 14 英寸圆形午夜蓝色镜面底座,将其出众美感完整映照,是追求长久赞誉的场合中无可替代的顶级礼品。搭载 “Radio's Richest Voice” 这一核心内置功能,它将广播界的明星声音每日带入家中,时刻提醒着赠礼者的心意。
凭借高保真接收功能、金属与玻璃真空管、七位享誉全球的设计师打造的卓越机身、静音光学调谐装置,以及由美国顶尖工业设计师 Walter Dorwin Teague 设计的两款杰出机型,Sparton 收音机在哈里斯堡地区由位于第十七街与德里街的 Excelsior Radio Company 经销,正受到挑剔买家的广泛青睐。
借助 Sparton 的高保真现场重放技术,所有广播艺术家仿佛亲临 Sparton 高保真收音机前…… 带来真正惊艳的声音还原。它紧跟广播电台高速发展的技术步伐,适配不断精进的高保真广播艺术。这一突破性技术让音阶中此前从未实现的额外两个八度得以通过无线电波传输。Sparton 的高保真接收器可忠实还原这一效果,将任何可听频段的演播室表演完美带入客厅。
Sparton 的工程师在广受宣传的金属真空管技术上取得了多项结构与设计突破。因此,Sparton 已将其应用于部分高端机型的特定位置,这类机型的买家无需优先考虑成本因素。
Sparton 推出了多款设计精巧的新时代机身,尺寸与价位齐全,可完美适配任何家居环境。所有机型均兼具实用性与美观性,价位从带发光航空刻度盘的个人紧凑型机型,逐步升级至豪华落地式收音机,以及搭载金属真空管与超强动力高保真底盘的独特玻璃金属机型。

Sparton Bluebird在中国报纸上的广告,Sparton Bluebird当年也曾出口到中国,在中国销售过。来自《益世报(天津版)》1936年8月18日第5版。

Sparton Bluebird在中国报纸上的广告,来自《益世报(天津版)》1936年8月31日第1版。

Sparton Bluebird圣诞礼物广告,来自《The Rutland Daily Herald》1937年12月11日第7版。

Sparton Bluebird圣诞礼物广告,与前一年的基本相同,售价大幅下降,来自《The Rutland Daily Herald》1938年12月16日第6版。再往后就鲜少见到Sparton Bluebird的广告了。

秀兰·邓波儿和Bluebird。


经典影片《教父1》(1972年)片段,出现了Bluebird。


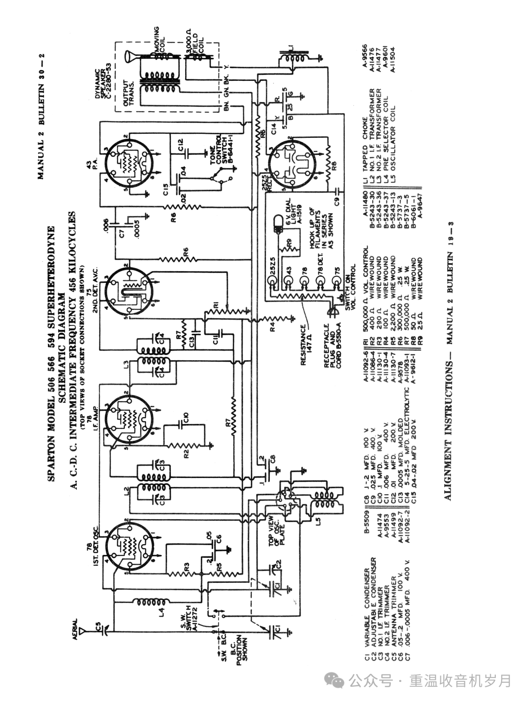
Sparton 566 (Bluebird) 的维护手册。
未完待续,下篇将继续介绍Sparton Bluebird。
注:以上图片中机器可能经过修复、翻新。未标明出处的图片来自国外网站。
一家之言,仅供参考,欢迎评论指正。
转载自:重温收音机岁月